Try it out

The patent associate
you wish you'd hired years ago.

Draft complete patent applications with an associate that works the way you think. Not an agent that replaces you — a brilliant colleague who amplifies everything you do.

0
AI Activities
10
Pipeline Phases
7
Patent Sections
eety.ai — Phase 1: Disclosure Analysis, extracting inventive concepts from uploaded patent documents eety.ai — Phase 2: Understanding Merge, resolving conflicts across multiple disclosure sources into a unified invention model eety.ai — Phase 3: Prior Art Analysis, element-by-element novelty comparison and design-around strategy eety.ai — Phase 4: Style Profile Extraction, reverse-engineering the attorney's writing DNA from reference patents eety.ai — Phase 5: Draft Planning, paragraph-by-paragraph roadmap with figure references awaiting attorney approval eety.ai — Phase 6: Claims Drafting, patent prose generated with claim alignment and style enforcement eety.ai — Phase 7: Drawing Plan, determining figures, visualization types, and reference numeral schemes eety.ai — Phase 8: Figure Generation, AI-generated USPTO-compliant patent block diagrams and flowcharts eety.ai — Phase 9: Detailed Description, full patent prose aligned with all figures and claim elements Quality Review & Export
Analyzing Disclosure...
Phase 1 of 10 · 2 min remaining
Our Philosophy

We didn't build an AI that thinks it's smarter than you.

You spent years mastering patent law. You understand the nuance of claim construction, the art of drafting around prior art, the strategy behind every word. eety doesn't replace any of that — it amplifies it. You lead. eety executes.

eety.ai — Patent attorney working alongside AI assistant, illustrating the assistant philosophy where you lead and eety executes
The Agent Approach

Takes your instructions and makes its own decisions about strategy, scope, and execution

Fills knowledge gaps with assumptions instead of asking you

Presents completed work you didn't shape — hope you like what it decided

Writes in its own voice — generic, interchangeable, unmistakably AI

Implicitly says: "I can do your job"

The eety Approach

Understands your intent and asks when it's unsure — never assumes your strategy

Identifies knowledge gaps and asks focused, technical questions to fill them

Waits for your direction at every step — you approve, modify, or redirect before it proceeds

Learns and writes in your voice — your style, your hedging patterns, your formality

Respects that "You're the expert. I'm here to make you faster."

🎯

You Set the Strategy

eety doesn't decide claim scope, prosecution angles, or drafting priorities. You do. It executes what you instruct — the way a brilliant junior associate would on their very best day.

It Asks, Never Assumes

When understanding is incomplete, eety asks focused questions instead of filling gaps with guesses. Because one wrong assumption in a patent application can cost millions.

✍️

Your Voice, Every Time

Your patents should still sound like your patents. eety's style intelligence reverse-engineers your writing DNA — so the output is unmistakably yours, not generic AI prose.

How It Feels

It listens. It defers. It delivers.

These claims are too narrow. Cast the widest net.

It follows your lead — and gives you a heads up before there's a problem.

This is rubbish. Start over.

No ego. No pushback. Just “how do you want it done?”

Good bones. Tighten the dependent claims and add one more on the data pipeline.

Every revision starts with your direction. It never decides for you.

The best junior associate you've ever had —
available 24/7, never misses a detail, and always
remembers that you're the one who passed the bar.

Try it out
The Brain

It doesn't read your disclosure. It comprehends your invention.

Most AI tools scan for keywords and fill templates. eety's brain builds a living, evolving mental model of your invention — mapping components, tracing interactions, identifying what's genuinely novel, and pinpointing exactly where the gaps are. Think of it as a Chief Architect who needs to build this invention from your words alone.

eety.ai — The Brain engine analyzing patent invention disclosures across 15 technical dimensions including novelty, component mapping, and gap detection
1

Upload & Parse

Drop in any format — invention disclosures, technical specs, research papers, even rough inventor notes. The brain parses each document individually, extracting structured knowledge from unstructured input.

PDF DOCX TXT Images
2

15-Point Deep Analysis

Every file undergoes a 15-dimension extraction — from inventive concept and novelty assessment to component-level interaction mapping. Not keyword matching — genuine technical comprehension.

~30 seconds per document
3

Iterative Refinement

The brain asks targeted follow-up questions — framed as an engineer trying to build this. Each answer deepens understanding surgically, without rewriting what's already solid.

Surgical delta updates, not full rewrites
What the Brain Extracts

15 dimensions of understanding — from a single disclosure.

Inventive Concept

What is fundamentally new

Technical Problem

The pain point being solved

Solution Mechanism

How it actually works

Novelty Assessment

What distinguishes from prior art

Non-Obviousness

Why it's not trivially derived

Component Mapping

Every element decomposed

Interaction Tracing

How components relate

Domain Classification

Technical field identification

Advantages

Key benefits articulated

Use Cases

Practical applications identified

Alternative Embodiments

Different ways to implement

Terminology Mapping

Key terms and definitions

Gap Detection

Missing information flagged

Preliminary Claims

Initial claim scope framing

Inventor Interview

Questions an engineer would ask.

After the initial analysis, the brain identifies knowledge gaps and generates 3–5 focused technical questions. These aren't generic — they're specific to your invention, framed by someone trying to build it.

Q1: How does the system distinguish between a vertical acceleration spike caused by a road hazard versus user handling events (e.g., dropping the phone)?

Q2: What is the minimum threshold of unique device reports required within a geospatial radius before confirming a hazard as validated?

Q3: Does the Visual Screening Module utilize a circular buffer to retroactively save frames from the moment preceding the accelerometer spike?

Confidence Scoring

Every dimension gets a confidence level — so you know exactly where the understanding is strong and where inventor input is still needed.

Inventive Concept95%
Component Mapping88%
Alternative Embodiments62%
Non-Obviousness55%

Living Mental Model

Not a static analysis. The understanding grows with every answer, every uploaded document, every piece of prior art — feeding downstream into claims, specification, and drawings.

Multi-Source Merge

Upload multiple files — disclosures, prior art, technical specs. The brain intelligently merges them, resolving conflicts, filling gaps, and re-ranking novelty to produce unified comprehension.

Surgical, Not Destructive

When new information arrives, the brain doesn't rewrite everything. It computes a precise delta — updating only the changed fields and preserving what's already solid. Zero wasted context.

Natural Communication

Talk naturally. It just gets it.

No prompts to learn. No templates to fill. Just talk to eety the way you talk to your best associate.

Cast the widest net on the independent claims.
I'll draft broad independent claims using functional language with minimum structural elements. Focusing on maximizing scope while maintaining defensibility.
These claims are rubbish. Start over.
Understood — redrafting from scratch. Broadening the preamble and restructuring the element hierarchy with a fresh approach.

"I want to own everything here"

→ Maximizes claim scope

"ASAP — file provisionally"

→ Prioritizes speed, lean draft

"What's the prior art landscape?"

→ Runs prior art analysis first

"Good bones — needs polish"

→ Iterates, doesn't restart

"Simplify this diagram"

→ Regenerates drawing

"Ship it — export everything"

→ Generates USPTO DOCX

Patent Drawings

The first assistant that actually draws.

Block diagrams, flowcharts, system schematics — generated from your invention, aligned with your claims, and refined with your feedback.

eety.ai — Automatically generated patent drawings including block diagrams, flowcharts, and system schematics derived directly from the invention model
eety.ai — FIG. 1 System Block Diagram, an AI-generated patent figure showing the high-level architecture of the invention
Fig. 1

System Block Diagram

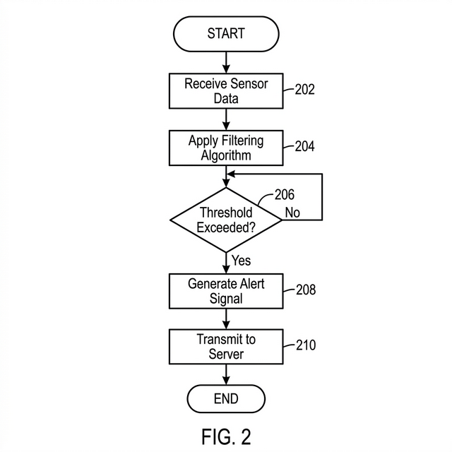
eety.ai — FIG. 2 Method Flowchart, an AI-generated patent figure illustrating the step-by-step process flow of the invention
Fig. 2

Method Flowchart

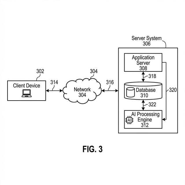
eety.ai — FIG. 3 Network Architecture, an AI-generated patent figure depicting the system's network topology and component interactions
Fig. 3

Network Architecture

USPTO Compliant

Proper line weight, reference numerals, and labeling — meets patent office requirements out of the box.

Iterative Feedback

"Remove the barcode from Fig 2" — eety regenerates with your feedback in seconds, not hours.

Cross-Figure Consistency

Reference numerals tracked across all figures. Element 102 in Fig. 1 stays 102 everywhere.

eety.ai — Style Intelligence feature analyzing a patent attorney's writing DNA extracted from reference patent applications to mirror their drafting style
Style Intelligence

Your style.
Every time.

Upload a patent whose style you admire. eety reverse-engineers the writing DNA — sentence structure, hedging patterns, claim formatting, embodiment framing — and drafts your new application in that exact voice.

Sentence Structure Hedging Patterns Claim Formatting Embodiment Framing Admission Risk Terminology Control
Standard Operating Procedure

The 10-Phase Drafting Pipeline

Not a first draft — a first-quality draft.

eety.ai — Complete 10-phase intelligent patent drafting pipeline, from disclosure upload through AI analysis and drawing generation to final DOCX export
eety.ai — Pipeline Phases 1 and 2: Disclosure Analysis and Understanding Merge, building a unified invention knowledge model
01

Disclosure Analysis

Extracting inventive concepts, technical problems, and solution mechanisms.

02

Understanding Merge

Resolving conflicts across sources, producing unified invention comprehension.

eety.ai — Pipeline Phases 3 and 4: Prior Art Analysis and Style Profile Extraction, researching novelty and learning the attorney's writing style
03

Prior Art Analysis

Element-by-element comparison, novelty arguments, and design-around strategies.

04

Style Profile Extraction

Reverse-engineering writing DNA from your reference patent — section by section.

eety.ai — Pipeline Phases 5 and 6: Draft Planning and Section Drafting, generating attorney-approved paragraph roadmaps and patent prose
05

Draft Planning

Paragraph-by-paragraph roadmap with topics, figure refs, and cross-section dependencies.

06

Section Drafting

Patent prose drafted step-by-step with claim alignment and style enforcement.

eety.ai — Pipeline Phases 7 and 8: Drawing Plan and Figure Generation, automatically creating USPTO-compliant patent illustrations
07

Drawing Plan

Determining figures, visualization types, and reference numeral schemes.

08

Figure Generation

AI-generated patent drawings — block diagrams, flowcharts, and system schematics.

eety.ai — Pipeline Phases 9 and 10: Detailed Description and Quality Review Export, finalizing the complete patent application for submission
09

Detailed Description

Figure-by-figure narrative with claim traceability and enablement checks.

10

Quality Review & Export

Automated QC checks, semantic review, and USPTO-compliant DOCX generation.

Purpose-Built Environment

Your patent workspace

Not a generic chatbot window. Document editor, AI assistant, drawings, and analysis — all in one real-time interface.

📝

Rich Document Editor

💬

AI Chat Assistant

🖼️

Drawings Gallery

📊

Real-Time Progress

🔄

Track Changes

📤

One-Click Export

🧠

Understanding Panel

🎨

Style Profiler

Inaugural Launch

Simple, transparent pricing

Start with 5 free patent drafts. No credit card required.

Every new user gets 5 FREE patent applications — no credit card required
1 Month

20 Patent Applications

$34.95 per patent

$699

billed once · 20 applications

  • Full 10-phase drafting pipeline
  • AI-generated patent drawings
  • Style intelligence matching
  • USPTO-compliant DOCX export
  • Email support
Get Started
Best Value
3 Months

75 Patent Applications

$26.65 per patent

$1,999

billed once · 75 applications

  • Everything in 1 Month plan
  • Priority AI processing
  • Multi-reference style profiling
  • Advanced prior art analysis
  • Priority support
Get Started
6 Months

200 Patent Applications

$22.50 per patent

$4,499

billed once · 200 applications

  • Everything in 3 Month plan
  • Team collaboration
  • Custom style templates
  • API access
  • Dedicated account manager
Contact Sales
Security & Trust

Enterprise-grade protection

🔐

Private Storage

No public URLs, no third-party access to your files.

🏢

Tenant Isolation

Complete data isolation with JWT-based access control.

📋

Audit Trail

Every action and draft version logged with full history.

🛡️

No Data Training

Your patent applications are never used to train AI models.

Ready to draft your first patent?

Try it out today.

Try it out